CY545
[Logo].

Chapter 15
CY545 Prototyping Support


The CYB-545 Prototyping Board

The CYB-545 Prototyping Board implements the Example Circuit - Maximum configuration as discussed earlier, supporting all features of the CY545. The CY545 may communicate serially with the host over an RS232 interface using the RJ11 jacks, while parallel communications are supported on a 20-pin header.

Multiple axes or networked controllers are supported using the CY233 Network Controller. The CY233 communicates with the CY545 over the Parallel bus.

This board also contains the interface circuits to support an HP or Siemens 8-character LED, for diplaying parameter values, prompts and mesages. Up to 256K bits (32Kx8) of memory are addressable at the memory socket, which can accept PROM, EPROM or EEPROM. It is possible for such a system to operate without the use of a host computer. The CY545 with local memory can contain the routines required to run the system, while the display provides the mechanism for system control by the operator.

[Proto Board]

A Wirewrap area is provided for implementation of thumbwheel switches, driver circuits, or other custom circuitry. Based in the single height VME format (100mm x 160mm, approximately 4" x 6.3"), the board requires only +5v (@650mA). The RS232 level voltages are generated by the Max233 on the board.

The basic board is provided in kit form, with all parts necessary to assemble a working board. Separate options are available, including an LED Display, Memory, EEPROM, CY233 Network Controller Chip, power supply, and serial cable.

CYS-545 Panel Software

[Software Display]

The CYS-545 uses an IBM-PC Com port to directly communicate with the CYB-545. Enter change, or read back stepping parameters; write and save external programs to EEPROM; or read and edit the externally stored program. As a learning tool, the software filters each command for appropriateness and proper format, and the help screens include command summaries and a pinout diagram.

CyberCom Console Software

[Console Display]

This Win98/NT-based software Provides Com Port Communication for Cybernetic Micro Systems' Controller Chips and Prototyping Boards. The program allows keyboard entry to one of Com 1, 2, 3, or 4. The user has control over many of the Com port settings, including Baud, data-length, parity, stopbits, and CTS/RTS. Typing is buffered at the keyboard until the Enter key sends the entire string to the serial port. A Carriage return terminator is optional. This utility directly supports all of the Cybernetic prototyping boards that have RS232 connectors. Default settings are provided for each board, and all the boards are pictorially depicted with proper jumper and switch settings and startup tips.

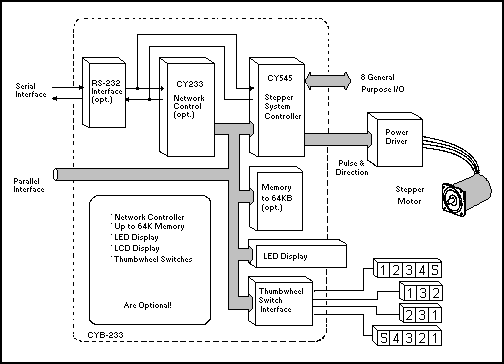
The CYB-233 Prototyping Board

One general purpose prototyping board available from Cybernetic Micro Systems is the CYB-233 board. While this board was originally designed to support the CY233 Local Intelligent Network Controller, it also contains a target socket area that will accept a CY545.

[CYB-233 Board]

The CY545 can be commanded directly through its own serial port connection, or serially through the CY233 and the parallel CY545 interface. With this second option, it is possible to control multiple CY545s through one host serial port, as a network of motor controllers. The CY233 acts as the network communications controller, recognizing commands meant for the local CY545, while the CY545 runs the stepper motor as commanded by the host.

The CYB-233 board also contains a wire wrap area, to which you may add any special motor driver interface logic, the local external memory, thumb wheel switch interface, or HP LED display. This makes the board versatile enough to accommodate most CY545 applications, at least for prototyping purposes.

The board is supplied in kit form, with complete assembly instructions and basic components.

The CYB-003 Prototyping Board

Those CY545 applications that use the CY325 and liquid crystal display, are well supported by a second prototyping board from Cybernetic Micro Systems, the CYB-003 board. This board contains the interface circuits and connections to support the CY325 and display unit. The board is the same size as the popular 711 LCD display, which is 8 lines by 40 characters.

[CYB-003 Prototyping Board]

The board contains a socket that will accept the CY545, and allows it to communicate serially with the CY325. Also included are an RS-232 interface and RJ-11 jacks for serial connection to the board. A wire wrap area makes it possible to add the motor driver interface, the local external memory, and thumbwheel switch interface for the CY545.

The combination of the CYB-003 board, with the CY545, CY325, and any interface logic, plus the 711 display, makes a very compact stepper controller system. This is especially useful in stand alone applications, where the local memory holds the CY545 stepping routines, and the CY325 plus display are used for the operator interface, status display, and prompting messages.

00 Contents ..|.. 01 Intro ..|.. 02 Pins & Packages ..|.. 03 Cmd Interfaces ..|.. 04 Commands..|.. 05 Motor Cmds
06 Bit Cmds..|.. 07 Memory Cmds..|.. 08 Prog Branch Cmds..|.. 09 Mode Cmds ..|.. 10 Misc Cmds
11 Circuits ..|.. 12 External Memory ..|.. 13 Thumbwheel Switch ..|.. 14 Output Display ..|.. 15 Proto Boards
16 Timing & Control ..|.. 17 Rate Tables ..|.. 18 Electrical Specs ..|.. 19 Examples ..|.. 20 Up & Running
Back to CY545 Data Sheet

© 1988 - 1999 Cybernetic Micro Systems, Inc. All rights reserved.
CY545 Manual 22MAR99